[分度器]

<< 目次を表示 >>

トピック :   SketchUp > ツールアイコン > 06.構築ツール >

[分度器]

 

clip0483

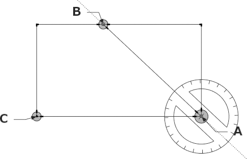
角度の測定:測定したい角度(図:BAC)を A → B → C の順にクリックすると値制御ボックスに角度が表示されます。

角度のついたガイドの作成: A → B の順にクリックし、作成したいガイドの角度を半角数字で入力(値制御ボックス)し、 Enter(MacはReturn)キーを押すとガイドが表示されます。

clip0086

 

角度を測定

 

角度付きガイドラインの作成

 

現在の向きに分度器ツールをロックする

 

正確な角度を作成